中国仪器网
试剂耗材
天平衡器
基础实验仪器
电化学仪器
光谱仪器
物性及物理光学仪器
实验室箱体
生化仪器
色谱仪器
超声波设备
行业仪器
振动筛分设备
 ●最新报价 更多
 · 上海索光光电技术有限公司最新报···
 · 美国维赛仪器公司YSI最新报价···
 · 日本三洋机电最新报价单
 · 上海悦丰仪器仪表有限公司最新报···
 · 北京大龙医疗器械有限公司最新报···
 · 上海申光仪器仪表有限公司最新报···
 · 杭州米欧仪器有限公司最新报价单
 · 日本爱拓|爱宕最新报价单
 · 湖南凯达离心机最新报价单3
 · 临海市谭氏真空设备有限公司|上···
 · 上海康仪仪器有限公司最新报价单
 
当前位置:首页>>产品展示>>试剂耗材>>德国IBIDI易必迪
ibidi易必迪 流体实验免疫荧光染色粘撕式载玻片/sticky-Slide VI 0.4/80608
型号:80608
品牌:ibidi易必迪
市场价:
折扣价:电询
报价链接最新报价
咨询热线
400-188-1717
在线客服 二维码
分享到:
产品介绍

易必迪 ibidi 流体实验 免疫荧光染色 粘撕式载玻片/sticky-Slide VI 0.4/80608

货号 产品名称 规格(个/盒)
80608 六通道可粘载玻片 15
 
 
 
无底6通道载玻片用于细胞培养,带有自黏底部,从而可以粘上底物
 
  多样性,比如可以粘上各种材质的底部
 使用少量细胞和试剂降低实验成本
 
  应用
 
     运行多种免疫荧光分析和活细胞成像
     静置或流动状态下实时拍摄
     嵌入材料或组织到灌注通道中
     在任何底物上运行剪切力实验
     与一系列底部材料使用,如塑料片,半导体芯片,玻璃载玻片

 

  技术特点
 
 无底的载玻片
 底部自黏
 生物兼容性粘附,经过细胞培养测试
 可粘附所有平整的表面,即便是潮湿的表面
 包含雌鲁尔接头连接管道和泵系统
 无菌包装
 有配套的盖玻片
 与μ载玻片VI 规格相同,仅仅没有底部。
 
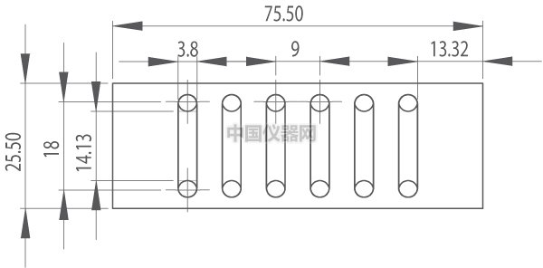
规格
Adapters Female Luer Length of channels 17 mm
Volume per reservoir 60 µl Width of channels 3.8 mm
Number of channels 6 Growth area per channel 0.6 cm2
Volume of each channel 0.4 mm Bottom none
 
 






Example: Setup of a Sample Squeezed into a Channel sticky-Slide


 
售后服务
质量保证:我方提供设备全部为全新设备(包括零部件),且设备的各零部件是产品出厂时的原始配置,设备质量符合国家质量检测标准。

售后服务:产品保修期为十二个月,在保修期内供方将免费维修和更换属质量原因造成的零部件损坏,保修期外零部件的损坏,提供的配件只收成本费,由需方人为因素造成的设备损坏,供方维修或提供的配件均按成本价计。

验收:我方承诺所供设备开机正常,随机的备品、备件、手册和相关资料齐全。验收过程中如出现问题,我方将严格按照国家“三包”政策执行。

声明: 因厂家会在没有任何提前通知的情况下更改产品包装、产地或者一些附件,本司不能确保客户收到的货物与商城图片、产地、附件说明完全一致。只能确保为原厂正货!并且保证与当时市场上同样主流新品一致。若本网站没有及时更新,请大家谅解!
合作伙伴:
网站首页 | 最新报价 | 产品展示 | 品牌中心 | 新闻资讯 | 公司简介 | 联系我们 | 在线留言 | Physitemp | 美国Biorep | Bioocean | 网站地图

Copyright © 2014-2022 科学仪器网版权所有 ICP备案号:沪ICP备12023843号-5

>